土壤污染状况调查
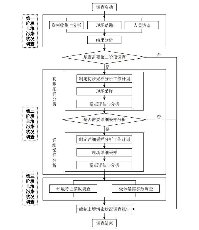
《中华人民共和国土壤污染防治法》(2019年1月1日施行)第五十九条规定:“用途变更为住宅、公共管理与公共服务用地的,变更前应当按照规定进行土壤污染状况调查。......土壤污染状况调查报告应当报地方人民政府生态环境主管部门,由地方人民政府生态环境主管部门会同自然资源主管部门组织评审。” 根据《土壤污染防治法》、《建设用地土壤环境调查评估技术指南》(部令 2017 年 第 72 号)和《建设用地土壤污染状况调查技术导则》(HJ 25.1-2019)等要求,旧改、更新项目建设用地在办理用地规划许可前,需完成土壤污染状况调查报告,通过专家评审后在“全国污染地块土壤环境管理系统”备案。调查程序如下:

推荐
-
-
QQ空间
-
新浪微博
-
人人网
-
豆瓣
